ÉGLISE PAROISSIALE DE LA-NATIVITÉ-DE LA-VIERGE
21 - Bagnot
- Dossier IA00070875 réalisé en 1985 revu en 1987
- Auteur(s) : Elisabeth Réveillon
Historique
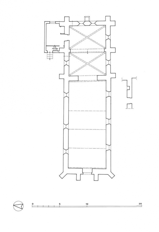
Choeur du 13e siècle, probablement ancienne chapelle érigée par l'un des ducs de Bourgogne, selon H. Baudot ; nef construite au 15e siècle ; adjonction au 18e siècle de la sacristie et de la porte latérale ; remaniement de l'édifice en 1860, 1861 : transfert du clocher en charpente de la nef sur le choeur et exhaussement de la flèche, édification des contreforts de la façade, établissement sur la nef d'une fausse voûte remplaçant un plafond, percement de deux fenêtres dans les murs de la nef
Période(s)
Principale :
- 13e siècle
- 15e siècle
Secondaire :
- 18e siècle
- 3e quart 19e siècle
Description
Choeur en brique couvert de voûtes d'ogives ; nef en moellons calcaire couverte d'une fausse voûte en berceau, entraits apparents sculptés d'engoulants.
Murs :
- calcaire
- brique
- moellon
- enduit
Toit :
- tuile plate
- ardoise
Plan :
- plan allongé
Etages :
- 1 vaisseau
Couvrement :
- voûte d'ogives
- fausse voûte en berceau plein-cintre
Escalier :
- échelle,
Décors :
- sculpture
- peinture
sujet : têtes d'aigle, de sanglier, d'âne, de crocodile et de dragon, support : extrémités des entraits de la nef
À voir
Informations complémentaires
Protection
classé MH partiellement :
1908
Thématiques :
- Saône navigable en Bourgogne-Franche-Comté (la)
Aire d’étude et canton :
Bourgogne-Franche-Comté
Dénomination :
église paroissiale
Parties constituantes non étudiées :
- cimetière
- © Région Bourgogne-Franche-Comté, Inventaire du patrimoine
